Диафрагма к AR-2W и AR-2K
В избранное К сравнению




Описание
Запасная диафрагма к клапанам AR-2W12, AR-2W12F, AR-2W21, AR-2W21F, AR-2K12, AR-2K21
Таблица совместимости диафрагм и клапанов:
| Диафрагма | Клапаны | |
| AR-2W21 и AR-2W12 | AR-2K21 и AR-2K12 | |
| 10...20 | Ду 10...20 | Ду 10...20 |
| 25 | Ду 25 (2W21-25, 2W12-25) | Ду 25 (2K21-25, 2K12-25) |
| 32 | Ду 32 (2W21-32, 2W12-32) | Ду 32 только для корпуса из нерж.стали (2K21-32/30-GSZ и 2K12-32/30-GSZ) |
40 | Ду 40 (2W21-40, 2W12-40) | Ду 32 только для корпуса из латуни (2K21-32-GBZ и 2K12-32-GBZ) |
| Ду 40 (2K21-40/37 и 2K12-40/37) | ||
| Ду 50 Дэф 44 (2K21-50/44) | ||
| 50 | Ду 50 (2W21-50, 2W12-50) | Ду 50 Дэф 50 (2K21-50, 2K12-50) |
Технические характеристики
| Параметр | Значение |
| Клапаны | AR-2W12, AR-2W12F, AR-2W21, AR-2W21F, AR-2K12, AR-2K21 |
| Диаметр условного прохода | 10 мм, 15 мм, 20 мм, 25 мм, 32 мм, 40 мм, 50 мм |
| Материал | VITON или EPDM |
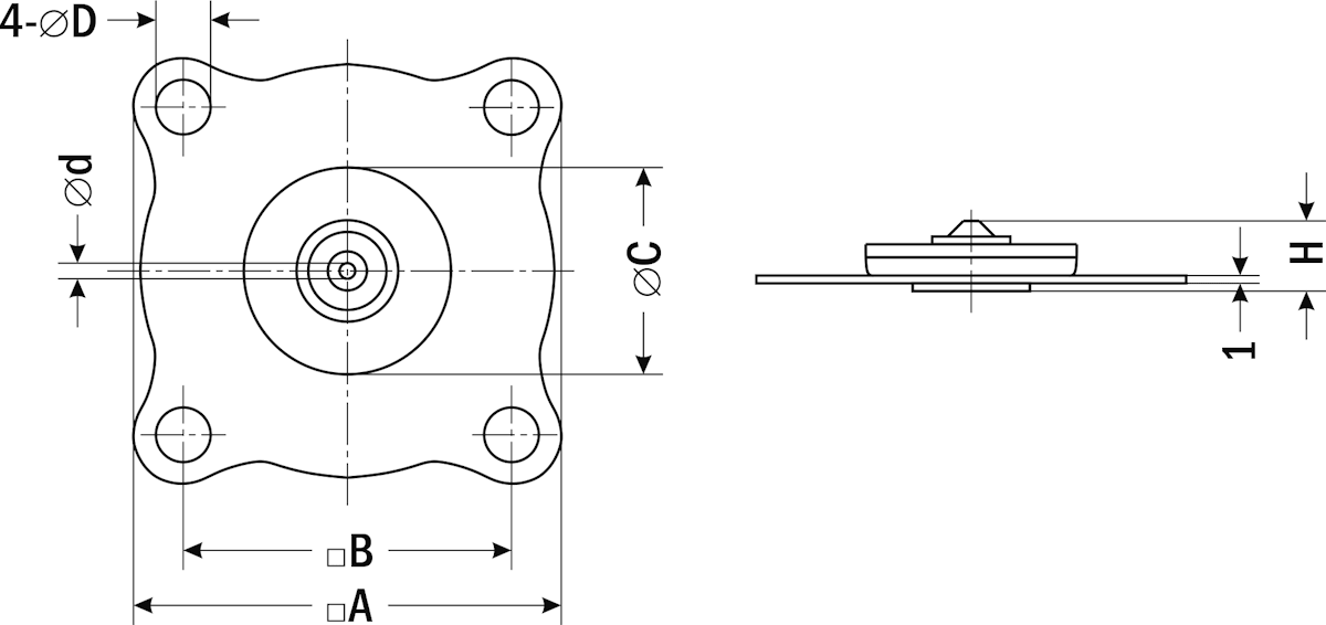
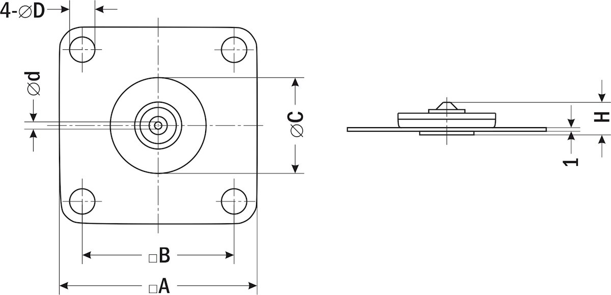
| Габаритные размеры |
![]() Ду=10..20, 25 мм |
Ду=32, 40, 50 мм |
| ДУ | A, мм | B, мм | C, мм | D, мм | d, мм | H, мм |
| 10…20 мм | 55 | 43 | 27 | 6 | 2 | 10 |
| 25 мм | 76 | 60 | 40 | 6 | 2 | 10 |
| 32 мм | 86 | 65 | 48 | 8 | 3 | 11 |
| 40 мм | 89 | 67 | 48 | 8,5 | 3 | 11 |
| 50 мм | 119 | 93 | 66 | 11 | 4 | 14 |
Диафрагма к AR-2W и AR-2K отзывы

С этим товаром также покупают
Рекомендуем посмотреть



























































